
|
随着科技的发展,手机在我们的生活中扮演了很重要的角色,手机在便利我们生活的同时,也会对我们造成很重要的影响.手机已经成为了我们的必需品,不仅是通讯工具,而且很大程度上都是娱乐功能。 手机人人爱,人人离不了啦.那么使用手机时,还要细心学习一些小知识!我们能够更好的使用手机。
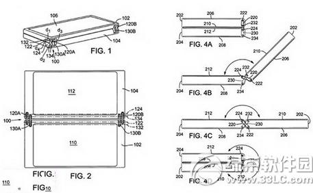
lumia市场主管称,“本发明涉及一种铰链机制的移动电子设备,比如移动手机和便携式计算机。传统的铰链手机设备,比如翻盖手机,通常包含两个部分组成,是单支点的铰链连接。在闭合位置,两部分是无法展开180度的或者更大。” 本质上,微软的新专利旨在解决翻盖手机无法折叠180度问题,联想在其Yoga 3 Pro上采取了独特角度的铰链连接,下面是微软专利图。
尽管翻盖手机的键盘是在第二部分,上述图纸显示两部分屏幕可以紧密贴合。虽然安卓手机有双屏手机设计,但都没有做到现在这样。 lumia win10旗舰机将带我们怎样的惊喜呢?小编和你一起等手机上市。
lumia640双4g手机什么时候上市 lumia640手机上市时间 微软Lumia 640配置好不好 Lumia640配置介绍 手机APP这些安装在手机里面丰富多彩的软件,让我们的生活更加方便和精彩。游戏、社交、购物、视频、音乐、学习......我们可以随时随地,随处进行。 |
温馨提示:喜欢本站的话,请收藏一下本站!